广州乐思体育有限公司
联系人:雷先生
手 机:88888888099
电 话:88888888
传 真:88888888
Q Q:888888881
网 址:
邮 箱:
地 址:广州开发区青年路9号
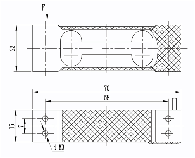
CZLZ608量程范围(kg) :0.5、1、3、5、6、10、15、20、25
功能特点:传感器弹性体采用铝合金材质;无色阳极化处理;胶密封 ;
应用范围:广泛用于电子计价秤、计重秤等小台面电子秤。
推荐台面尺寸:120×120mm
技术指标明细:
精度等级 : C2 | 灵敏度温度影响(%F.S/10℃): ±0.02 | |
综合误差(%F.S) : ±0.02 | 零点温度影响(%F.S/10℃) : ±0.03 | |
灵敏度(mv/v) : 1.0±0.1 & 2.0±0.2 | 温度补偿范围(℃ ) : -10~+40 | |
蠕变(%F.S/30min) : ±0.02 | 使用温度影响(℃ ) : -20~+60 | |
零点输出(%F.S) : ±1.0 | 激励电压(V) : 9~12(DC) | |
输入阻抗(Ω) : 405±10 | 安全过载范围 (%F.S) : 120 | |
输出阻抗(Ω) : 350±3 | 极限过载范围 (%F.S) : 150 | |
绝缘电阻(MΩ) : ≥5000(100VDC) | 防护等级 : IP65 |
安装尺寸规格图 (单位mm):
接线方式:
红线: 激励 ( +) 111 绿线: 信号 ( +)
黑线: 激励 ( -) 111 白线: 信号 ( -)
备注:采用四芯屏蔽电缆,标准线长为420mm,如有特殊需要,可根据客户要求提供
!
受力示意图:
